NTC-A-4101
Доступен для скачивания
краткий каталог продукции:
Датчик предназначен для измерения температуры в системах управления отоплением, вентиляцией и кондиционированием воздуха HVAC (от англ. Heating, Ventilation & Air Conditioning), подключается к термостатам и терморегуляторам, например ARCOM-N37, ART-D2, ТРМ-900, RTC 70F, ARCOM-D2, ARCOM-D2-N2, ARCOM-N472, ARCOM-W793, ARCOM-W461, ARCOM-N371.
Системы вентиляции не включены в номенклатуру продукции и услуг (работ), в отношении которых законодательными актами Российской Федерации предусмотрена их обязательная сертификация. Вводится в действие Постановлением Госстандарта России от 30 июля 2002 г. N 64 (в ред. Постановления Госстандарта РФ от 08.01.2003 N3, Поправок, утв. Госстандартом РФ). Соответственно, устройства, которые используются для измерения параметров в данных системах, не подлежат обязательной сертификации.
Системы вентиляции не включены в номенклатуру продукции и услуг (работ), в отношении которых законодательными актами Российской Федерации предусмотрена их обязательная сертификация. Вводится в действие Постановлением Госстандарта России от 30 июля 2002 г. N 64 (в ред. Постановления Госстандарта РФ от 08.01.2003 N3, Поправок, утв. Госстандартом РФ). Соответственно, устройства, которые используются для измерения параметров в данных системах, не подлежат обязательной сертификации.
Принцип действия:
NTC-датчик (термистор, терморезистор, термометр сопротивления) – это полупроводниковый прибор, электрическое сопротивление которого изменяется в зависимости от температуры. NТС-датчики имеют отрицательный температурный коэффициент сопротивления (ТКС) (Negative Temperature Coefficient – отрицательный температурный коэффициент), т.е. сопротивление уменьшается при увеличении температуры и увеличивается при ее уменьшении.
Особенности:
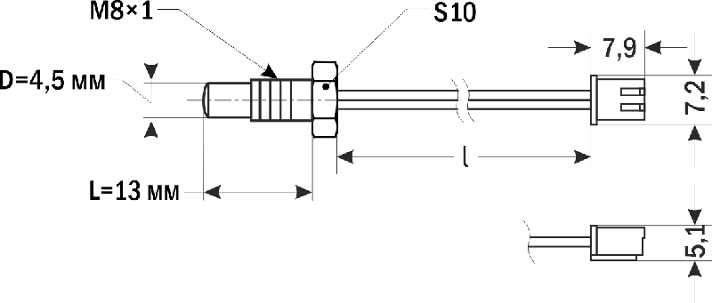
- Штуцер со стандартной резьбой М8×1 позволяет легко монтировать дачик в стандартное резьбовое отверстие в объекте измерения температуры
- Высокая чувствительность
- Влагозащищенный корпус
- Низкая стоимость по сравнению с термосопротивлениями
- Увеличение длины кабельного вывода до 100 м методом пайки стандартным двужильным медным проводом (например, ШВВП 2×0,7 мм2) практически не влияет на точность измерений
Монтаж:
На датчики NTC внешние электромагнитные поля оказывают гораздо более слабое воздействие, чем на обычные термосопротивления. Однако в случае очень сильных электромагнитных полей при монтаже NТС-датчиков провода от места установки самого датчика до регулятора желательно прокладывать на максимально возможном удалении от источников помех. Если конструкция установки не позволяет этого сделать, то уменьшить влияние внешнего электромагнитного поля позволяет экранирование измерительного провода и последующее заземление экрана.
Технические характеристики:
| Параметр | Значение | |
| Диапазон измеряемых температур
| −50...+125°С | −30...+125°С |
| Погрешность
| ±1%
| |
| Тип
| NTC 10k ±1% 3950
| NTC 100k ±1% 3950 |
| Сопротивление при +25°С
| 10 кОм
| 100 кОм |
| Изменение сопротивления
| 0,35...668 кОм
(0,35 кОм соответствует верхнему пределу диапазона измерения температуры: +125°С, 668 кОм – нижнему: −50°С) | 3,34...1733 кОм
(3,34 кОм соответствует верхнему пределу диапазона измерения температуры: +125°С, 1733 кОм – нижнему: −30°С) |
| Длина монтажной части (L)
| 13 мм
| |
| Диаметр монтажной части (D)
| 4,5 мм
| |
| Присоединение
| Штуцер М8×1
| |
| Длина кабельного вывода (l)
| 1000 мм – стандарт
до 100 000 мм – по заказу погрешность длины кабельного вывода ±3% | |
| Схема подключения
| 2-проводная
| |
| Присоединение
| коннектор 2pin
| |
| Материал корпуса датчика
| нержавеющая сталь
| |
| Степень пылевлагозащиты
| IP65
| |
| Габаритные размеры
|
![]() |
Версия: 2023-10-10-ЛВС
